我国是香菇生产大国,也是香菇出口大国 ,国内普遍采用人工剪柄和目测分级分拣的方式对香菇进行加工,加工过程单一反复,劳动强度大、分级精度难以控制。随着劳动力成本的上升与农产品加工自动化的发展,本文开发设计了一款结构简单、成本低廉、加工效率高的全自动香菇剪柄及分拣设备,兼具有剪柄及分级分拣功能,较当前的相关研究具有明显的优势,极大的满足了当前菇类产品加工分拣的需求。
一、全自动香菇剪柄及分拣设备结构原理
(一)香菇剪柄及分拣设备结构
全自动香菇剪柄及分拣设备自上料、清洗翻面、送料、剪柄、检测分级、分拣过程实现全自动化。由上料机进行连续自动化供料,进行缓冲清洗和翻面后,进入带传动系统,在传送过程中实现动态的剪切与分拣,其总体结构如图1

(二) 加工工艺过程
菇料卸料进自动上料机3的料斗中后,由电机驱动料门连续自动开关,对下方的缓冲翻面输送槽2供料,缓冲翻面输送槽左侧由水泵供水,在槽内形成流水,落入的菇料经过翻滚清洗自动调整为菇柄向下的形态,在促料机构4的作用下进入双同步带传送系统8,由两条同步带对香菇柄夹紧传送,在同步带第一段位下方配置高速剪切圆锯盘、上方配置柔性压辊,对菇柄动态剪切,在同步带系统第二段位、第三段位分别配置检测和分拣模块机构,分别检测并分拣出一级香菇和二级香菇,三级香菇在传送带末端自动落料。实现整个香菇的全自动上料、翻转清洗、剪柄、一级检测与分拣、二级检测与分拣、三级分拣。
二、主要功能结构
(一)自动上料机
自动上料机架置于缓冲输送槽上方,主要由型材架、料斗、料门及驱动组成。料斗底部无底板,由水平料门进行封底(料门下侧采用导轨滑块支承),采用快速推杆电机控制料门的开度和开关频次,实现香菇的上料量与上料频次可调节,保障上料加工的需求。
(二) 香菇缓冲翻面输送槽
香菇缓冲翻面输送槽采用双段结构,如图2,左段尺寸在宽度与深度上均比右段大。供料进入左段后,在较深槽中进行缓冲,左端面入水口的流水,对香菇进行冲洗后,香菇在重力作用下自动翻面,调整为菇柄朝下的形态,在流水作用下进入右段。在右段的右端面,开有出水U型口,配置一个带有U型口的闸门,通过长腰形孔对闸门的上下位置进行调整,保证右段水槽的水位高度。

在右段槽内,通过纵向倾斜的安装板固定一对同步带轮,作为同步带传统系统8的物流入口,整个同步带传送系统呈水平10度角倾斜.左端的一对同步带轮刚好沉浸在水槽水面之下,保证流水输送的香菇能够上料到双同步传送带。
(三) 促料机构
为保证菇料能够更有效快速进入双同步带上,在双同步带系统物流入口,设计有一对双叶片螺旋桨,螺旋桨叶片浸没在水下方,由直流电机驱动,两个螺旋桨同时向水槽中心旋转,带动菇柄向水槽中心及后方漂移,同时,在螺旋桨上方安装一对呈“八”字布局的导向板,保证漂浮的菇伞在“八”字收口处进入同步带传送系统。
(四)双同步带传送及剪柄结构
双同步带传送系统如图3,采用五对同步带轮带动两条同步带,第二对同步带轮轴间距缩小,形成同步带对菇柄的夹紧,第二对同步带与第三对同步带间采用一对法兰轴承,既对同步带进行竖直方向的支承,也同时与第二对同步带轮一起向中间收紧,夹紧菇柄。在第二对同步带轮与一对法兰轴承间的下方设计有高速旋转的水平圆锯片,对经过的该同步带传送段位的香菇进行剪柄处理 。为保证剪柄过程平稳,在该段位上方还设计了一个随动的柔性压辊,对菇伞上表面进行柔性压紧。

第三对、第四对同步带轮横向轴间距加大,此段为分拣段位,为经过此段位香菇分拣提供足够的落料空间。第五对同步带轮横向轴间距略有增大,使得两条同步带内侧间距在法兰轴承之后增大,保证香菇在分拣段位不被同步带夹紧。
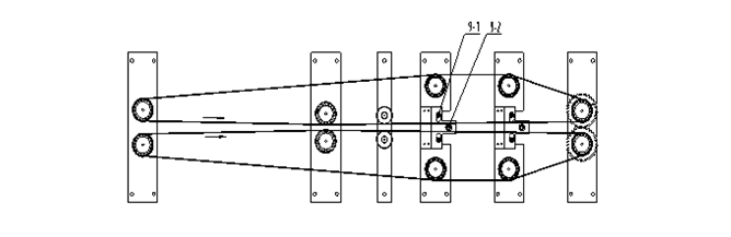
(五)检测分拣机构
在同步带传送的分拣段位,设计有两个检测分拣模块,分别对一级香菇和二级香菇进行检测和分拣。每个分拣模块包括一对光电检测头9-1和一个电磁铁顶出机构,光电检测头安装间距可调,对同步带传送的香菇伞在线检测,通过检测头的信号逻辑或计算,获得香菇是否达到菇伞大小的级别,如果达到尺寸要求,通过信号控制电磁铁推杆顶出菇伞。最终三级香菇子传动带末端落料。双同步带传送系统下方通过切料收集箱,分别收集落料的菇柄、一级菇伞、二级菇伞、三级菇伞。
三、设备加工参数计算
整个全自动香菇剪柄及分拣设备通过结构可调实现最终的最优结构参数设置,经过参数的优化调整,设备按照同步带线速度200mm/s,循环水流量2200L/H设定运行。
根据香菇样本收集,平均40个/kg,其中菇柄异形比例为87.7%,理论上线速度1个/S,异形香菇二次上线成功率50%,三次上线成功率50%,综合香菇剪切分拣效率:
V=1/(1+12.3%*0.5+12.3%*0.5*0.5)*3600/40=82.5 kg /H,而普通人工的单纯剪柄效率约为20KG/H,设备切柄效率为人工效率的4倍左右。
四、结论
本全自动香菇剪柄及分拣设备,在正常的运转工况下,单台设备可实现82.5kg/H的剪柄量,同时完成三个等级的香菇分拣,设备的各功能部件运转过程安全可靠,能够实现连续的加工。
为进一步提升设备的有效利用,后续将考虑在循环输送水经缓冲翻面输送槽,实现送料上传送带之后,循环水往下方流,进入下方架设的第二套缓冲翻面输送槽及后续的传送分拣机构(通过上料机开分支口,对第二套分拣机构的供料),实现效率的翻倍。

文章为作者独立观点,由物流搜索网编辑整理,不代表物流搜索网立场。如需转载此文,请注明出处和本文链接。来源:香菇天下
点击继续加载下一条